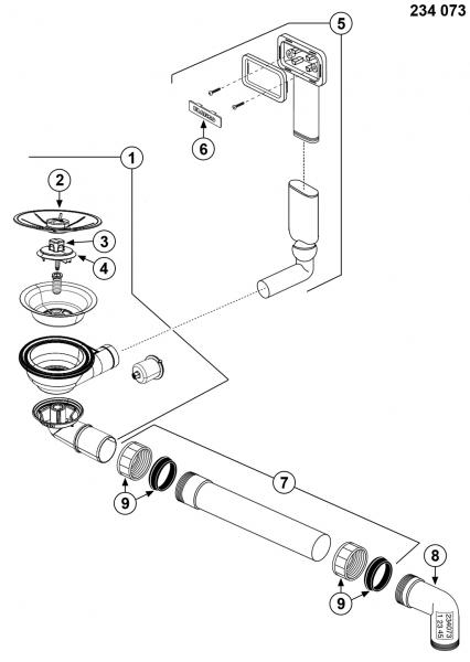
Blanco komplet afløb til Andano/Etagon - uden excenter
Chat med os
Send en mail
Et godt tilbud
Fragt fra 45,-
Sikker handel